高光谱成像仪运用了面阵探测器与光栅分光系统的技术,它的性能得到了极大的提升,应用也更为广泛。本文主要介绍了光栅式高光谱成像仪的结构构成和工作原理。

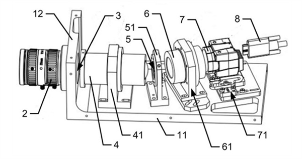
高光谱成像仪的结构构成主要包括底板以及固定于所述底板并沿所述底板的一端向另一端的方向依次间隔设置的镜头、狭缝、准直镜、透射光栅、聚焦镜和探测器等,参考上图。
简单来说,光栅式高光谱成像仪主要由光谱仪和成像系统两大主要部分组成。通过处理分析软件,在获得影像中每一个像素点的光谱信息的同时,可以获得每一个波谱下的影像信息,即获得一个三维的信息数据。光谱分辨率精度可以达到几个纳米到几十个纳米,这相对于普通的RGB成像更能在不破坏样本的情况下,精准的掌握样本更多的信息。
好彩娱乐~welcome官网难关研究表明:探测器上设置串口总线接口,并限定狭缝的宽度和长度,同时限定各部件之间的光轴角度,从而可以使其获取更高分辨率、更高灵敏度以及更低杂散度的光谱图像。

好彩娱乐~welcome官网光栅式高光谱成像仪和其他高光谱成像仪一样,能够达到很高的光谱分辨率,在400-1000nm的范围内光谱分辨率通常优于10nm,并且具备连续光谱成像的特点。
好彩娱乐~welcome官网目前主流的分光方式为反射式光栅分光,其通过前置镜头与反射式光栅的光学结构耦合光路,并利用面阵相机采集物质的光谱图像。
但随着光栅式高光谱成像仪的光谱与空间分辨率的需求提升,如何获取更高分辨率、更高灵敏度以及更低杂散度的光谱图像成为了其最主要的问题。